Revue Technique Subaru Impreza: D: Remontage
1) Précautions à respecter lors du remontage
- Pour le remontage, procédez dans l'ordre inverse du démontage.
- Vérifiez et réglez chaque pièce lors du remontage.
- Conservez les cales et les rondelles en bon ordre de façon à ne pas les mélanger lors du remontage.
- Nettoyez soigneusement les surfaces sur lesquelles seront montés les cales, les rondelles et les roulements.
- Enduisez d'huile pour engrenages les roulements et les rondelles de butée lors de leur remontage.
- Veillez à ne pas intervertir les cuvettes de roulement droit et gauche.
- Remplacez le joint d'huile par une pièce neuve lors de chaque démontage. Graissez entre les lèvres du joint d'huile au montage.

2) Réglage de la précharge des roulements avant et arrière
Réglez la précharge de roulement à l'aide des entretoises et des rondelles placées entre les roulements avant et arrière. A noter que les rondelles de réglage en hauteur du pignon ne sont pas affectées par ce réglage. Le réglage doit être effectué alors que le joint d'huile n'est pas en place.
(1) Enfoncez la cuvette de roulement arrière sur le logement de différentiel, en se servant des outils spéciaux ST1 et ST2.
ST1 398477701 MANETTE
ST2 398477703 CHASSE 2

(2) Introduisez l'outil spécial ST1 équipé de la rondelle de réglage en hauteur du pignon d'attaque et du cône de roulement arrière dans le logement.
ATTENTION:
- La rondelle peut être réutilisée si elle n'est pas déformée.
- Utilisez un cône de roulement arrière neuf.
(3) Reposez ensuite l'entretoise et la rondelle de réglage de la précharge, le cône de roulement avant, l'outil spécial ST2, le contre-flasque d'accouplement, la rondelle et l'écrou de pignon d'attaque.
ST1 398507702 FAUX ARBRE
ST2 398507703 FAUX COLLIER

(A) Cale de réglage en hauteur du pignon
(B) Entretoise de réglage de la précharge
(C) Rondelle de réglage de la précharge
(4) Tournez à la main l'outil spécial ST1 afin d'en assurer l'assise, puis serrez l'écrou de pignon d'attaque tout en mesurant la précharge au peson.
Choisissez la rondelle et l'entretoise de réglage de précharge appropriée de façon à ce que la précharge spécifiée soit obtenue lorsque l'écrou est serré au couple indiqué.
ATTENTION: Utilisez un contre-écrou neuf.
NOTE:
- Veillez à ne pas donner une précharge excessive.
- Pour serrer l'écrou de pignon d'attaque, immobilisez l'outil spécial ST1 avec l'outil spécial ST2 en procédant comme indiqué sur la figure.
ST1 398507704 BLOC
ST2 398507702 FAUX ARBRE
Couple de serrage: 181 N*m (18,5 kgf-m)

| Précharge des roulements avant et arrière |
| Dans le cas de roulements neufs: 19,6 - 28,4 N (2,0 - 2,9 kgf) au trou de boulon de contre-flasque d'accouplement |
| Dans le cas de roulements usagés: 8,34 - 16,67 N (0,85 - 1,7 kgf) au trou de boulon de contre-flasque d'accouplement |


3) Réglage en hauteur du pignon d'attaque Réglez la hauteur du pignon d'attaque avec la cale reposée entre le cône de roulement arrière et l'arrière du pignon d'attaque.
(1) Mettez en place les outils spéciaux ST1, ST2 et ST3 de la même manière que celle indiquée sur la figure, et préchargez les roulements de la valeur spécifiée.
| Précharge des roulements avant et arrière |
| Dans le cas de roulements neufs: 19,6 - 28,4 N (2,0 - 2,9 kgf) au trou de boulon de contre-flasque d'accouplement |
| Dans le cas de roulements neufs: 19,6 - 28,4 N (2,0 - 2,9 kgf) au trou de boulon de contre-flasque d'accouplement |
Réglage de la précharge des roulements avant et arrière
NOTE: Montez alors la cale de réglage en hauteur du pignon temporairement sélectionnée ou la cale d'origine. Mesurez et enregistrez l'épaisseur.
ST1 398507702 FAUX ARBRE
ST2 398507701 JAUGE DE LOGEMENT DE DIFFERENTIEL
ST3 398507703 FAUX COLLIER

(A) Cale de réglage en hauteur du pignon
(2) Mesurez le jeu N entre l'extrémité de l'outil spécial ST2 et la surface d'extrémité de l'outil spécial ST1 en utilisant le jauge d'épaisseur.
NOTE: Assurez-vous qu'il n'y a pas de jeu entre le carter et l'outil spécial ST2.
ST1 398507702 FAUX ARBRE
ST2 398507701 JAUGE DE LOGEMENT DE DIFFERENTIEL

(3) Calculez l'épaisseur de la cale de réglage en hauteur du pignon à intercaler à l'aide de la formule ci-après, et substituez cette rondelle à celle qui a été installée temporairement.
T = To + N − (H x 0,01) − 0,20 mm
NOTE: Utilisez des copies de cette page.

(Exemple de calcul)
To = 2,20 + 1,20 = 3,40 mm
N = 0,23 mm H = + 1,
T = 3,40 + 0,23 − 0,01 − 0,20 = 3,42
Résultat: Epaisseur = 3,42 mm
Il convient par conséquent d'utiliser dans ce cas la cale 383605200.

4) Reposez la cale de réglage en hauteur du pignon d'attaque sélectionnée, puis montez à la presse le roulement arrière, en se servant de l'outil spécial ST.
ST 398177700 OUTIL DE REPOSE

5) Introduisez le pignon d'attaque dans le logement de différentiel, reposez l'entretoise et la rondelle de réglage de précharge du roulement sélectionnées au stade précédent.

(A) Pignon d'attaque
(B) Entretoise de réglage du roulement
(C) Rondelle
(D) Logement de différentiel
6) Montez à la presse le cône de roulement avant dans le carter, en se servant des outils spéciaux ST1, ST2 et ST3.
ST1 398507703 FAUX COLLIER
ST2 399780104 POIDS
ST3 899580100 OUTIL DE REPOSE

7) Mettez en place l'entretoise, puis montez à la presse le roulement pilote, en se servant des outil spéciaux ST1 et ST2.
ST1 399780104 POIDS
ST2 899580100 OUTIL DE REPOSE

8) Montez un joint d'huile neuf en utilisant l'outil spécial ST.
NOTE:
- Montez à la presse jusqu'à ce que la face du joint d'huile soit positionnée en un point situé à moins de 1 mm de l'extrémité du logement.
- Garnissez la lèvre du joint d'huile de graisse.
ST 498447120 CHASSE

9) Montez à la presse le contre-flasque d'accouplement en se servant des outils spéciaux ST1 et ST2.
ATTENTION: Veillez à ne pas endommager le roulement.
ST1 899874100 OUTIL DE REPOSE
ST2 399780104 POIDS

10) Reposez l'écrou autobloquant. Puis serrez-le avec l'outil spécial ST.
ST 498427200 CLE A CONTRE-FLASQUE
Couple de serrage: 181 N*m (18,5 kgf-m)

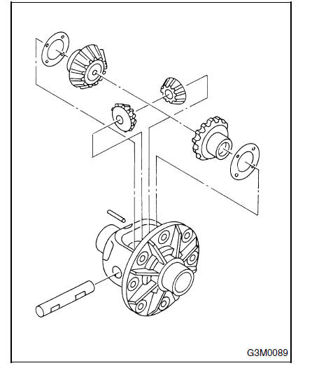
11) Remontage du carter de différentiel Reposez les planétaires et les satellites avec les rondelles de butée et l'axe de satellite dans le carter de différentiel. (Sans OBD)
ATTENTION:
- Enduisez d'huile pour engrenages les deux côtés de la rondelle et l'axe de planétaire avant le remontage.
- Introduisez l'axe de satellite dans le carter de différentiel en alignant les trous des goupilles de blocage.

(1) Mesurez le battement du planétaire.
Jeu du planétaire: 0,10 - 0,20 mm

(2) Réglez le battement comme spécifié en sélectionnant la rondelle de butée de planétaire qui convient.

(3) Vérifiez la rotation après avoir enduit d'une couche d'huile les surfaces des dents et les surfaces de butée.
(4) Après avoir inséré la goupille de blocage de l'axe de satellite dans le carter de différentiel, matez les deux côtés du trou pour empêcher la chute de la goupille.
12) Reposez la couronne sur le carter de différentiel.
ATTENTION: Avant d'adapter les boulons, enduisez de produit Lock Tite les filetages de boulon.
Lock Tite: THREE BOND 1324 ou équivalent
NOTE: Serrez successivement les boulons diagonalement opposés tout en tapant à coups légers sur les têtes de boulons.
Couple de serrage: 103 N*m (10,5 kgf-m)

13) Enfoncez le cône de roulement latéral sur le carter de différentiel en utilisant l'outil spécial ST.
ST 398487700 CHASSE

14) Réglage des cales de retenue du roulement latéral
(1) Le battement du pignon récepteur et la précharge du roulement latéral peuvent être déterminés par l'épaisseur de la cale de retenue du roulement latéral.
(2) Reposez le carter de différentiel sur le logement de différentiel en procédant dans l'ordre inverse du démontage.

(3) Reposez les cales de retenue latérales et les joints toriques aux retenues gauche et droite par l'ordre inverse de la dépose.
NOTE:
- Remplacez le joint torique cassé ou fêlé par un neuf.
- Remplacez la cale de retenue latérale cassée ou corrodée par une neuve ayant la même épaisseur.

(4) Alignez la flèche sur le logement de différentiel avec la flèche sur la retenue latérale pendant la repose.
ATTENTION: Veillez à ce que la cuvette extérieure du roulement latéral ne soit pas endommagée par les rouleaux du roulement.

(A) Flèche
(5) Serrez les boulons de retenue de roulement latéral.
ATTENTION: Avant de serrer les deux boulons de retenue du roulement, enduisez le produit Lock Tite les filetages de boulon.
Lock Tite: THREE BOND 1105 ou équivalent
Couple de serrage: 10,3 N*m (1,05 kgf-m)

(6) Mesurez le battement entre la couronne et le pignon d'attaque. Appliquez la base magnétique sur le logement de différentiel. Alignez la pointe du comparateur à cadran sur la face d'une dent, et faites tourner la couronne tout en immobilisant le pignon d'attaque. Lisez la valeur indiquée par le comparateur.
Battement: 0,10 - 0,20 mm

(7) Au même moment, mesurez le couple de rotation initiale du pignon d'attaque. Comparez la valeur obtenue par rapport au couple de rotation initial obtenu lorsque le carter de différentiel n'est pas en place, si l'augmentation du couple n'est pas dans les tolérances, modifiez le jeu de cale de retenue du roulement latéral.
Augmentation du couple de rotation initial: 2,9 à 10,8 N (0,3 à 1,1 kgf)
15) Procédez à une nouvelle vérification du battement entre la couronne et le pignon d'attaque.
Battement: 0,10 - 0,20 mm

16) Vérifiez le voile de la couronne au niveau de sa face lisse, et assurez-vous que le pignon d'attaque et la couronne tournent librement.
Limite de voile: Moins de 0,05 mm

17) Vérification et réglage du contact des dents du couple couronne/pignon d'attaque
(1) Enduisez de minium de plomb les deux côtés de trois ou quatre dents de la couronne. Vérifiez la trace de contact après avoir fait tourner la couronne de plusieurs tours dans les deux sens, jusqu'à apparition d'une empreinte nette.
(2) Lorsque la trace de contact est incorrecte, corrigez le réglage en appliquant les instructions fournies sur la page intitulée "TRACE DE CONTACT DES DENTS DE COURONNE".
NOTE: Veillez à essuyer tout le minium de plomb après avoir effectué le réglage.
18) En cas d'impossibilité d'obtention d'un contact correct entre les dents, procédez à un nouveau réglage de la hauteur du pignon d'attaque, en changeant les cales de retenue du roulement droit et gauche, et le battement de l'engrenage hypoïde.
(1) Hauteur du pignon d'attaque
ST1 398507702 FAUX ARBRE
ST2 398507701 JAUGE DE LOGEMENT DE DIFFERENTIEL

T = To + N − (H x 0,01) − 0,20 (mm) sachant que:
T = Epaisseur de la cale de réglage en hauteur du pignon (mm)
To = Epaisseur de la cale temporaire (mm)
N = Lecture du jauge d'épaisseur (mm)
H = Chiffre poinçonné sur la tête du pignon d'attaque
(2) Battement de l'engrenage hypoïde
Battement: 0,10 - 0,20 mm

| TRACE DE CONTACT DES DENTS DE COURONNE | ||
| Point à vérifier | Trace de contact des dents | Remède |
| Contact correct entre les dents
La trace de contact est légèrement vers la pointe lors de la rotation à vide. (En charge, la trace de contact se déplace légèrement vers le talon.) |
![]() |
- |
| Contact trop près de l'arête
Le battement est excessif. |
Ce type de contact peut être responsable de bruits de fonctionnement et l'arête des dents risque d'être ébréchée.
|
Augmentez l'épaisseur du jeu de cales de réglage de la hauteur du pignon d'attaque afin de rapprocher le pignon du centre de la couronne.
|
| Contact au fond de la gorge
Le battement est trop insuffisant. |
Ce type de contact peut être responsable de bruits de fonctionnement et d'une usure irrégulière des flancs.
|
Réduisez l'épaisseur du jeu de cales de réglage en hauteur du pignon d'attaque de façon à écarter le pignon de la couronne.
|
| Contact à la pointe
La zone de contact est insuffisante. |
Ce type de contact peut être responsable de la détérioration des dents à la pointe.
|
Réglez de la même manière que pour le contact au fond de la gorge.
|
| Contact au talon
La zone de contact est insuffisante. |
Cela risque de les ébrécher aux extrémités de talons.
|
Réglez de la même manière que pour le contact trop près de l'arête.
|
: Sens de réglage du pignon d'attaque
: Sens de réglage de la couronne
19) Reposez le couvercle arrière et serrez les boulons au couple spécifié.
ATTENTION: Connectez solidement la borne de mise à la masse de la sonde de température de différentiel arrière.
Couple de serrage: 29 N*m (3,0 kgf-m)

C: Demontage
Pour déceler la cause de la panne, inspectez les points suivants avant de procéder au démontage.
Contact des dents de la couronne et du pignon, et le battement
Voile ...
E: Inspection
Nettoyez toutes les pièces démontées, et vérifiez le degré d'usure, l'état général et les défauts éventuels.
Réparez ou re ...
D'autres materiaux:
C: Demontage
1) Tracez des repères d'alignement sur l'arbre et la cuvette extérieure.
2) Déposez la bande et le soufflet du joint SFJ.
ATTENTION: Veillez à ne pas endommager le soufflet.
3) Déposez le circlip de la cuvette extérieure du joint SFJ en utilisant le tournevis.
4) Déposez la cuvette extérieure du joint SFJ de l'arbre.
5) Essuyez la ...








