Revue Technique Subaru Impreza: E: Inspection
1. INSPECTION DE BASE
1) Nettoyez tous les éléments démontés, et assurez-vous qu'ils ne présentent ni usure, ni dégât ou autres défectuosités, réparez ou remplacez selon nécessité.
2) Lors du démontage, assurez-vous que le boîtier de direction ne contient pas d'eau. Si c'est le cas, vérifiez soigneusement le bon état du soufflet, ainsi que l'étanchéité du joint cache-poussières de l'arbre d'entrée, de la vis de réglage et des clips du soufflet. Remplacez si nécessaire.
| Nº | Pièce | Inspection | Remède |
| 1 | Arbre d'entrée |
|
En cas de flexion ou de dégât excessifs, remplacez l'ensemble boîtier de direction. |
| 2 | Joint cache-poussières |
|
Si la paroi extérieure glisse, que la lèvre du joint soit usée ou que le joint apparaisse endommagé, remplacez-le. |
| 3 | Pignon et crémaillère | Mauvais engagement de la crémaillère et du pignon |
|
| 4 | Boîtier de direction |
|
Remplacez le boîtier de direction par un neuf. |
|
Si le jeu libre de l'axe de crémaillère en sens radial excède les spécifications, remplacez le boîtier de direction.
(Voir "Limite de service".) |
||
|
Si les jeux libres de l'arbre d'entrée dans le sens radial et axial excèdent les spécifications, remplacez le boîtier de direction par un neuf. (Voir "Limite de service".) | ||
| 5 | Soufflet | Fissures, dégâts ou détérioration | Remplacez. |
| 6 | Biellette |
|
Remplacez. |
| 7 | Tête de biellette | Dégât ou détérioration du joint cache- poussière | Remplacez. |
| 8 | Ressort de la vis de réglage | Détérioration | Remplacez. |
| 9 | Clip du soufflet | Détérioration | Remplacez. |
| 10 | Manchon | Dégât | Remplacez. |
| 11 | Tuyaux |
|
Remplacez. |
2. LIMITE DE SERVICE
Procédez à une mesure comme exposé ci-après. Si les résultats sortent des spécifications, réglez ou remplacez les organes en cause.
NOTE: Lorsque vous effectuez une mesure, placez le boîtier de direction sur un étau à l'aide de l'outil spécial ST.
Ne calez jamais le boîtier en insérant des plaques d'aluminium, etc. entre les mâchoires de l'étau et le boîtier.
ST 926200000 SUPPORT
Résistance de glissement à l'axe de crémaillère: Limite de service 235 N (24 kgf) ou moins

3. JEU DE L'AXE DE CREMAILLERE DANS LE SENS RADIAL
Braquage à droite:
Limite de service 0,19 mm ou moins
Condition
L: 5 mm
P: 122,6 N (12,5 kgf)

Braquage à gauche:
Limite de service
Sens
0,3 mm ou moins
Sens
0,15 mm ou moins

4. JEU DE L'ARBRE D'ENTREE
Dans le sens radial:
Limite de service 0,18 mm ou moins
Condition P: 98 N (10 kgf)

Dans le sens axial:
Limite de service 0,5 mm ou moins
Condition P: 20 à 49 N (2 à 5 kgf)

5. RESISTANCE DU BOITIER A LA ROTATION
En utilisant l'outil spécial ST, mesurez la résistance de braquage du boîtier de direction.
ST 34099PA100 CLE
Limite de service
Résistance maximale admissible
Moins de 9,33 N (0,95 kgf)

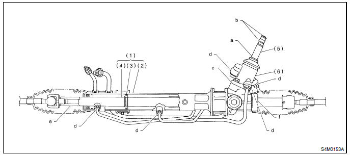
6. FUITE D'HUILE

- Cylindre de travail
- Cylindre
- Piston de crémaillère
- Essieu de crémaillère
- Arbre d'entrée
- Boîtier de soupape
- Points de fuites d'huile
1) Si le point de fuite est autre que les points a, b, c ou d, procédez à la vérification étape 5 dans "Procédure de contrôle des fuites d'huile et pièces de rechange" avant de déposer le boîtier de direction du véhicule. <Voir "Procédure de contrôle des fuites d'huile et pièces de rechange".> Si vous déposez le boîtier de direction sans avoir repéré le point de fuite, il sera nécessaire de le remonter afin de localiser la fuite.
2) Même s'il est possible de localiser aisément la fuite par simple observation, il est indispensable de vidanger complètement l'huile de la section suspecte et de tourner le volant à fond dans les deux sens, 30 à 40 fois, alors que le moteur tourne, vous comparerez ensuite l'état de la section suspecte immédiatement après cette opération et quelques heures plus tard.
3) Avant d'entreprendre la réparation d'une fuite d'huile, veillez à nettoyer le boîtier, les flexibles, les tuyaux et les organes voisins. Vous nettoyerez à nouveau ces éléments une fois la réparation terminée.
- Procédure de contrôle des fuites d'huile et pièces de rechange
NOTE: Les pièces à remplacer sont décrites dans la plus petite unité, y compris les pièces endommagées et les pièces de rechange endommagées. En pratique, il vous faudra tenir compte de dégâts accidentels ainsi que de dégâts inévitables à certains composants connexes, et vous devrez également prévoir des pièces de rechange pour ces éléments. Il est essentiel, toutefois, de localiser la cause de la panne et de limiter autant que possible le nombre des pièces à remplacer.
1) Fuite au point "a"
Le joint d'huile est endommagé. Remplacez la soupape par une neuve.
2) Fuite au point "b"
Le joint torique de la barre de torsion est endommagé.
Remplacez la soupape par une neuve.
3) Fuite au point "c"
Le joint d'huile est endommagé. Remplacez la soupape ou le joint d'huile par une pièce neuve.
4) Fuite au point "d"
Le tuyau est endommagé. Remplacez le tuyau défectueux ou le joint torique.
5) Si le point de fuite est autre que les points a, b, c, ou d, et si de l'huile s'écoule du boîtier de direction, déplacez les soufflets droit et gauche vers la tête de biellette de direction, le boîtier de direction étant monté sur le véhicule, et essuyez l'huile des organes voisins.
Tournez ensuite le volant à fond dans les deux sens, 30 à 40 fois, alors que le moteur tourne, vous comparerez ensuite l'état de la section suspecte immédiatement après cette opération et quelques heures plus tard.
(1) Fuite au point "e"
Le joint du cylindre est endommagé. Remplacez le coussinet de crémaillère par un neuf.
(2) Fuite au point "f"
Il y a deux causes possibles. Procédez tout d'abord comme suit. Débranchez le tuyau B du boîtier de soupape, et fermez le circuit à l'aide de l'outil spécial ST.
ST 926420000 BOUCHON
Tournez le volant à fond dans les deux sens, 30 à 40 fois, alors que le moteur tourne, vous comparerez ensuite l'état de la section suspecte immédiatement après cette opération et quelques heures plus tard.
ATTENTION:
- Si vous constatez toujours une fuite au point "f": Le joint d'huile de l'ensemble pignon-soupape est endommagé. Remplacez l'ensemble pignon-soupape.
Ou remplacez le joint d'huile, ainsi que les éléments éventuellement endommagés durant le démontage.
- Si vous ne constatez plus de fuite d'huile au point "f": Le joint d'huile du carter de crémaillère est endommagé.
Remplacez le joint d'huile, ainsi que les éléments éventuellement endommagés durant le démontage.
D: Remontage
ATTENTION: Utilisez exclusivement la graisse SUBARU d'origine pour le boîtier de direction.
Graisse recommandée pour le boîtier de direction: GRAISSE VALIANTE M2 (nº de pi&egr ...
F: Reglage
1) Réglez le pincement avant.
Valeur standard: INT 3 à EXT 1 mm
(1) Contre-écrou
2) Réglez l'angle de braquage des roues.
Angle standard de la direction
3) Si ...
D'autres materiaux:
Systèmes de retenue pour enfant
Les nourrissons et enfants en bas âge doivent toujours être assis dans un
système de retenue pour nourrisson ou enfant sur le siège arrière lorsqu’ils
voyagent dans le véhicule.
Utilisez un système de retenue pour nourrisson
ou enfant conforme aux Normes des Federal Motor Vehicle Safety Standard
aux États-Unis ou aux Normes Canadiennes de Sécurité des Véhicules
Automobi ...