Revue Technique Subaru Impreza: Frein à tambour arrière

Revue Technique Subaru Impreza / Chassis / Frein / Frein à tambour arrière

A: DEPOSE

1) Desserrez les écrous de roue, mettez le véhicule sur le cric, soutenez-le à l'aide de crémaillères rigides et déposez la roue.

2) Relâchez le frein de stationnement.

3) Déposez le tambour de frein.

NOTE:

  • Si vous avez du mal à déposer le tambour, ôtez la coiffe du trou de réglage du plateau de frein, puis tournez les cliquets de rattrapage automatique à l'aide d'un tournevis à fente jusqu'à ce que le segment de frein se dégage du tambour.

Frein

  • Si vous avez du mal à déposer le tambour de frein, chassez-le en installant un boulon de 8 mm dans le trou du tambour de frein.

Frein

4) Maintenez la goupille de maintien en tenant de la main l'arrière du plateau de frein.

Frein

(1) Coupelle de maintien
(2) Goupille de maintien

5) Séparez la coupelle de maintien de sa goupille en faisant tourner cette première.

6) Dégagez des segments le ressort de rappel inférieur.

Frein

7) Déposez les segments un par un du plateau de frein avec le rattrapage automatique.

ATTENTION: Veillez à ne pas plier outre mesure le câble du frein de stationnement lorsque vous déposez les segments.

Frein

8) Séparez le câble du frein de stationnement de son levier.

9) Dévissez l'écrou évasé du tuyau de frein et débranchez le tuyau de frein.

Frein

10) Déposez le moyeu.

<Voir DS-25, DEPOSE, Essieu arrière.>

11) Déposez le frein.

Frein

12) Déposez les boulons de fixation du cylindre de roue au plateau de frein, puis déposez le cylindre.

Frein

B: REPOSE

1) Reposez le cylindre de roue sur le plateau de frein, et serrez les boulons.

Couple de serrage: 10 N*m (1,0 kgf-m)

Frein

2) Nettoyez la plateau de frein et le cylindre de roue.

3) Graissez les endroits indiqués par des flèches sur la figure.

Graisse pour freins: Dow Corning Molykote No. 7439 (nº 725191460)

Frein

4) Graissez la vis de réglage et les deux extrémités du rattrapage automatique.

Graisse pour freins: Dow Corning Molykote No. 7439 (nº 725191460)

Frein

5) Fixez le ressort de rappel de segment supérieur sur les segments.

6) Branchez le câble de frein de stationnement sur le levier de stationnement.

7) Positionnez les segments, un par un, dans la rainure du cylindre de roue, puis fixez-les.

Frein

8) Fixez les segments en reliant la coupelle à la goupille de maintien.

9) Fixez le ressort de rappel de segment inférieur.

10) Réglez le diamètre extérieur des segments à moins de 0,5 à 0,8 mm vis-à-vis du diamètre intérieur du tambour.

11) Reposez le moyeu.

<Voir DS-28, REPOSE, Essieu arrière.>

12) Branchez le tuyau de frein et serrez l'écrou évasé de tuyau de frein.

Couple de serrage: 15 N*m (1,5 kgf-m)

Frein

13) Reposez le tambour de frein.

14) Après avoir reposé le frein, purgez l'air du circuit de freinage.

C: DEMONTAGE

1) Déposez les soufflets gauche et droit du cylindre de roue.

Frein

(1) Chapeau de purgeur
(2) Vis de purge
(3) Ressort
(4) Cylindre
(5) Coupelle
(6) Piston
(7) Soufflet

2) Démontez le piston, la coupelle, le ressort et la vis de purge d'air, ainsi que le chapeau.

D: REMONTAGE

1) Nettoyez tous les pièces à l'aide de liquide de frein. Vérifiez et remplacez les pièces défectueuses.

  • Coupelle et soufflet: Etat d'usure ou de fatigue
  • Cylindre, piston et ressort: Dégâts ou formation de rouille

2) Procédez dans l'ordre inverse de la procédure du démontage.

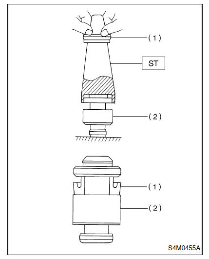
(1) Lors de reposer la coupelle, utilisez l'outil spécial ST, appliquez le liquide de frein sur la surface de friction pour faciliter la repose et faites attention au sens de montage de la coupelle.

(2) Il existe différents calibres d'outils spéciaux ST.

ATTENTION:

  • Lorsque vous remplacez la trousse de réparation, assurez-vous que les calibres du cylindre et de la coupelle sont identiques à ceux des pièces originales.
  • Veillez à utiliser l'outil du calibre adéquat.

Frein

ATTENTION: Durant le remontage, veillez à éviter que de la limaille, des poussières ou de la saleté pénètrent dans le cylindre de roue.

Frein

(1) Coupelle
(2) Piston

3) Appliquez de la graisse pour caoutchouc sur l'intérieur du soufflet, comme indiqué sur la figure.

ATTENTION: N'utilisez jamais de graisse pour freins.

Graisse: NIGLUBE RX-2 (Nº 003606000)

Frein

E: INSPECTION

1) Si le plateau de frein, les segments, etc. sont déformés ou usés de manière sérieuse, remplacez-les.

    Tambour de frein à tambour arrière
    A: DEPOSE 1) Desserrez les écrous de roue, mettez le véhicule sur le cric, soutenez-le à l'aide de crémaillères rigides et déposez la roue. 2) Rel&acir ...

    Maître-cylindre
    A: DEPOSE 1) Vidangez complètement le réservoir de liquide de frein. 2) Déconnectez le connecteur de faisceau de l'indicateur de niveau de liquide. 3) Déconnectez ...

    D'autres materiaux:

    Vidange de l’huile et remplacement du filtre à huile
    Effectuez les vidanges d’huile et remplacements du filtre à huile en suivant le programme d’entretien inclus dans le "Livret de Garantie et d’Entretien". Ces opérations doivent être effectuées plus fréquemment que ne l’indique le programme d’entretien si le véhicule est utilisé sur des routes poussiéreuses, pour de courts trajets ou par temps extrêmement froid REMARQ ...