Revue Technique Subaru Impreza: B: Repose
1) Reposez le silentbloc arrière sur la boîte de vitesses.
Couple de serrage: 34 N*m (3,5 kgf-m)
2) Reposez le levier de débrayage et le roulement sur la boîte de vitesses. (Modèle avec turbo) <Voir CL-18, REPOSE, Butée et levier de débrayage.>
3) Reposez la boîte de vitesses sur le moteur.
- Graduellement enlevez la boîte de vitesses à l'aide du cric pour la boîte de vitesses.
- Engagez-les aux cannelures.
ATTENTION: Veillez à ne pas cogner l'arbre secondaire contre le couvercle d'embrayage.
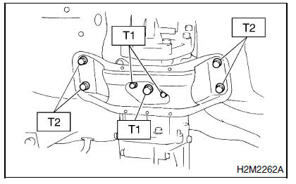
4) Reposez la traverse arrière de la boîte de vitesses.
- Modèle 4WD
Couple de serrage:
T1: 70 N*m (7,1 kgf-m)
T2: 140 N*m (14,3 kgf-m)

- Modèles FWD
Couple de serrage:
T1: 35 N*m (3,6 kgf-m)
T2: 70 N*m (7,1 kgf-m)

5) Déposez le cric pour boîte de vitesses.
6) Serrez les écrous qui fixent le bas de la boîte de vitesses au moteur.
Couple de serrage: 50 N*m (5,1 kgf-m)

7) Liez le moteur et la boîte de vitesses.
- Reposez le démarreur.
<Voir SC-6 REPOSE, Démarreur.>
- Serrez le boulon qui fixe le haut droit de la boîte de vitesses au moteur.
Couple de serrage: 50 N*m (5,1 kgf-m)

8) Déposez l'outil spécial ST.

9) Reposez le bras anti-tangage.
Couple de serrage:
T1: 50 N*m (5,1 kgf-m)
T2: 58 N*m (5,9 kgf-m)

10) Soulevez le véhicule.
11) Reposez l'arbre de commande dans la boîte de vitesses.
12) Introduisez la goupille élastique dans l'orifice chanfreiné de l'arbre de commande.
ATTENTION: Toujours utilisez la goupille élastique neuve.

13) Reposez les rotules du bras inférieur dans le bras de fusée du logement, et serrez les boulon de raccordement.
Couple de serrage: 49 N*m (5,0 kgf-m)

- Bras transversal
- Joint à rotule
14) Reposez le bras stabilisateur sur le bras transversal.
- Sauf Berline avec turbo
Couple de serrage: 30 N*m (3,1 kgf-m)

- Berline avec turbo
Couple de serrage: 45 N*m (4,6 kgf-m)

15) Reposez la tige de passage de vitesse et le renfort.
- Reposez la tige de passage de vitesse sur la boîte de vitesses.

- Renfort
- Tige
- Reposez le renfort sur la boîte de vitesses.
16) Reposez l'arbre de transmission. <Voir DS-17 REPOSE, Arbre de transmission.>
17) Reposez le couvercle soudé à chaud.
18) Reposez le tuyau d'échappement arrière et le silencieux.
19) Reposez l'appui-support sur la partie droite de la boîte de vitesses.

20) Reposez le tuyau d'échappement avant et le tuyau d'échappement central. (Modèle sans turbo)
Sans OBD <Voir EX(SOHCw/oOBD)-9, REPOSE, Tuyau d'échappement avant.>
Avec OBD <Voir EX(SOHC)-8, REPOSE, Tuyau d'échappement avant.>

21) Reposez l'ensemble de tuyau d'échappement central. (Modèle avec turbo)<Voir EX(DOHC TURBO)- 9, REPOSE, Tuyau d'échappement central.>
22) Reposez le capotage sous-plancher.
23) Reposez le cylindre de commande. (2,0 L Modèle)
Couple de serrage: 37 N*m (3,8 kgf-m)
- Modèle sans turbo

- Modèles avec turbo

24) Branchez le ressort de rappel et le câble d'embrayage.
(1,6 L Modèle)

25) Connectez les connecteurs suivants.
- Borne de mise à la masse de la boîte de vitesses
Couple de serrage: 13 N*m (1,3 kgf-m)
- Connecteur de détecteur tachymétrique
- Connecteur de contacteur de point mort
- Connecteur de contacteur de feu de recul
- Connecteur de contacteur de vitesse supérieure et inférieure (Modèle à double gamme)
26) Reposez le renfort de carter d'épurateur d'air.
Couple de serrage: 16 N*m (1,6 kgf-m)
27) Reposez le carter d'épurateur d'air.
28) Branchez le câble de mise à la masse de la batterie.
29) Déposez le véhicule de la table de levage.
A: Depose
1) Ouvrez le capot avant entièrement, et calez-le avec la béquille.
2) Débranchez la borne de mise à la masse de la batterie.
3) Déposez le conduit d'admission d'a ...
Système de support de la boîte de vitesses
A: DEPOSE
1. BRAS ANTI-TANGAGE
1) Débranchez la borne de mise à la masse de la
batterie.
2) Déposez le conduit d'admission d'air et le carter
d'épurateur d'air.
...
D'autres materiaux:
Affichage multifonctions (noir et blanc)
REMARQUE Pour les modèles avec affichage
multifonctions (LCD couleur), reportez-vous à "Affichage multifonctions
(LCD couleur)".
Indicateur de température extérieure
Affichage d’informations sur la conduite
Horloge
L’horloge apparaît à l’écran lorsque le contacteur d’allumage est en
position "ACC".
Lorsque le contacteur d’allumage est en position "ON",
l’ ...